DWIGHT CHERNISH / ROYAL LEPAGE COUNTY REALTY
MLS® # A2253614
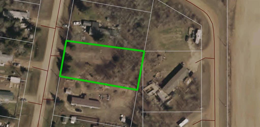
Vacant lot at Westwind Park. Ready for your modular. Located on the north end of Westwind Mobile Home Park is this 0.4 acre lot. Power meter, municipal water and a new septic tank system are all on the lot, with only gas needing to be brought in. Westwind is a community south of Athabasca, AB that provides residents with a convenient and comfortable living environment. Amenities at Westwind include common areas, playgrounds, and convenient parking options. The community strives to create a welcoming and i...